Высота дымохода
Чтобы грамотно вычислить высоту сооружения важно учитывать несколько важных аспектов, влияющих на безупречную кладку печной трубы из кирпича и ее дальнейшую работоспособность. Чем дольше горячий воздух будет распространяться внутри дымоходных каналов — тем продолжительнее тепло будет оставаться внутри печи. Оптимальная высота трубы во многом помогает правильно работать печи, а именно: нормализует тягу, способствует более продолжительному сохранению тепла и т.д
Что касается правильности — то от колосниковой решетки вертикальное расстояние должно быть более пяти метров до устья дымохода. По соотношению конька кровли и расположения дымоходной трубы, важно следовать определенным правилам поднятия дымохода, если труба выходит над кровлей на расстоянии:
Оптимальная высота трубы во многом помогает правильно работать печи, а именно: нормализует тягу, способствует более продолжительному сохранению тепла и т.д. Что касается правильности — то от колосниковой решетки вертикальное расстояние должно быть более пяти метров до устья дымохода
По соотношению конька кровли и расположения дымоходной трубы, важно следовать определенным правилам поднятия дымохода, если труба выходит над кровлей на расстоянии:
до 15 см. от конька — оптимальная высота постройки должна быть не менее 50 см.;
от 15 см. до 30 см
от конька — крайне важно, чтобы дымоходная труба соответствовала его уровню;
более 30 см. от конька — завершающий элемент дымоходной трубы должен находиться ниже линии конька (ориентировочно на 10%)
Монтаж дымохода из нержавейки
Собственно, если схема дымохода тщательно продумана, получено согласование контролирующих органов (это – обязательное условие), закуплены все необходимые детали будущей системы, то монтаж не представляет особой сложности. Все элементы снабжены адаптированными участками сопряжения, и присоединение их одного к другому является простой и интуитивно понятной задачей.
Стыки труб, особенно внутри жилого помещения, желательно дополнительно усилить специальным герметиком, выдерживающим температуру до 1000–1500º – его несложно найти в специализированных магазинах, занимающихся реализацией комплектующих для дымоходов. Это позволит гарантировано избежать проникновения в помещения опасных для здоровья продуктов сгорания и снижения тяги в системе.
Герметик для дымоходных систем
При креплении дымохода на внешней стене на кронштейны расстояние между ними должно быть не более 2 м. Обязательным является кронштейн (опора) в местах прохода трубы чрез стену и крепления сборника конденсата (ревизионного отсека).
Если монтаж ведется внутри помещений, то главное внимание уделяется местам прохода через перекрытия. Некоторые производители дымоходных систем включают в свой ассортимент специальные элементы для этих целей
Но, если таковых нет, их несложно изготовить и самостоятельно
Но, если таковых нет, их несложно изготовить и самостоятельно.
Самостоятельно изготовленный короб для прохода через перекрытие
По сути, это короб с центральным отверстием для прохождения трубы соответствующего диаметра, и длиной стенок, обеспечивающих требуемое расстояние дымохода от материала перекрытия. Очень часто его изготавливают также их нержавеющей стали.
Он же, установленный в нужное место
Он крепится в толще перекрытия, свободное пространство в нем заполняется негорючим материалом (базальтовой ватой или керамзитом). Сверху и снизу он может быть закрыт декоративной пластиной.
Сверху и снизу можно закрыть пластиной
На кровле – несколько другой подход.
Во-первых, если она имеет определенный угол с горизонтом, отверстие под трубу будет иметь не круглую, а эллипсовидную или прямоугольную вытянутую форму.
Вырез в кровле под дымоходную трубу
Во-вторых, следует сразу учитывать расположение потолочных балок и стропил – необходимо, чтоб дымоход проходил примерно по центру расстояния между ними.
Монтаж прохода через кровлю
- В-третьих, помимо термоизоляции, необходимо предусмотреть сверху гидроизоляцию – так, чтобы атмосферные осадки или сконденсировавшаяся влага не проникали в чердачное помещение. Сегодня несложно приобрести специальные гибкие элементы, которые подойдут под любой профиль кровли.
- Нелишним на дымоходную трубу будет одеть «юбку», которая защитит стык с кровлей от прямого попадания дождя.
“Юбка” для защиты прохода через кровлю от прямого попадания дождевых струй
Сверху труба увенчивается оголовком – зонтиком. В ряде случаев, о которых уже упоминалось, потребуется установка специального элемента – искрогасителя.
Размер вытяжного отверстия, высота размещения
Выбрав отопительный газовый котел для дома, учитывая вид топлива, номинальную мощность, учитывая требования завода изготовителя, паспортные данные, следует определить площадь сечения, количество каналов. Недостаточно большой диаметр будет способствовать частому затуханию, снижению тяги, что негативно отразится на работоспособности отопительного оборудования.
Занимаясь строительством дымоотвода нужно учесть некоторые рекомендации специалистов: размещать конструкцию значительно выше конька крыши, при плоской крыше сам дымоход следует располагать на расстоянии до 3 метров. Массивные конструкции требуют дополнительного крепления.
Строительные нормы
Любое топливо пожароопасно. Газ еще и взрывоопасен. Котлы напольные некомпактны, занимают много места (как выбрать котел для отопления для частного дома). Половина моделей отопительного оборудования оснащена открытыми топками: неизбежно проникновение в окружающее пространство дыма, угара, газа в случае утечки.
Поэтому для установки котла требуется отдельная комната. Здесь можно разместить элементы системы оптимальным образом, чтобы обеспечить легкий доступ к ним, исключить случайное механическое воздействие.
У электрокотлов вышеописанные свойства отсутствуют, котельная не обязательна. Но электрический котел тоже можно убрать в отдельную комнату, из эстетических соображений (что такое водонагревательные котлы электрические).
Варианты устройства котельной в частном доме:
- в подвальном помещении, на цокольном этаже;
- в нежилой комнате коттеджа;
- на чердаке или на плоской кровле;
- в пристройке;
- в отдельно стоящем техническом сооружении (в сарае, хозблоке, гараже и др.);
- в собственном передвижном модуле.
Рассмотрим основные требования к котельной в частном доме для газа (их несколько больше, чем для агрегатов на другом топливе). Нормативы для размеров котельной в частном доме зависят от мощности котла (общие требования к помещению для установки газового котла в частном доме).
Если она более 60 киловатт, объем комнаты должен быть не меньше 15 кубометров; в пределах 60 – 13,5; до 30 (настенная модель) – 7,5 (это минимальная площадь котельной в частном доме).
В последнем случае котел можно установить в кухне, при соблюдении требований:
- стена для установки – капитальная, выполнена из огнеупорных материалов. Деревянную стену нужно предварительно оштукатурить. Другой вариант облицовки – плитка в котельной в частном доме;
- потолок не ниже 2,5 метров;
- обязательно устройство дополнительной вентиляционной системы. Над полом оборудуют отверстие для приточной вентиляции и забирают его решеткой. Для проветривания должна быть форточка или фрамуга;
- хорошая естественная освещенность. Площадь окна в котельной частного дома – из расчета 30 кв. сантиметров остекления на кубометр помещения;
- ширина двери – от 0,8 метра.
Требований к топочной в частном доме, если она обустраивается отдельно, несколько больше. Стены, отделяющие ее от жилых комнат, должны иметь огнеупорность не меньше 45 минут. Воздухообмен – не реже трех раз за час. Дверь в котельную частного дома должна открываться наружу (на улицу).
Может быть вторая дверь, ведущая внутрь дома – обязательно несгораемая. Размер бойлерной в частном доме при мощности свыше 60 определяется как 15 кубометров плюс 0,2 на каждый киловатт (инструкция МДС 41–2.2000). Не разрешается установка в подвалах котлов на сжиженном газе.
На случай, когда оборудуется котельная в гараже частного дома или в отдельно стоящем миниблоке, СНиП (редакция 2008 года) предусматривает несколько дополнительных требований. Постройка должна располагаться на отдельном фундаменте, не соприкасающемся с основным.
Под котел (в зависимости от массы) может потребоваться собственный фундамент (или бетонная подушка не выше 20 сантиметров над полом). Стены и крыша – из огнестойких материалов. Бетонный раствор (для фундамента, стен и др.) – с песком в составе.
Собственная канализационная ветка для слива теплоносителя. Если котельную оборудуют в пристройке, она должна примыкать к глухой стене дома не менее чем в метре от оконных проемов и дверей.
Нормы проектирования котельной в частном доме предусматривают обеспечение свободного доступа к рабочим узлам на случай ремонта и для обслуживания.
Просвет между котлом и стеной должен быть не меньше 70 см, от лицевой панели до стены – минимум метр. Для моделей с боковым или задним обслуживанием проход должен быть полтора метра.
Если просвет для обслуживания не требуется, котел устанавливают минимум в 10 сантиметрах от стены. На стену помещают негорючий экран (кровельная сталь, асбест 3 мм). Обязательна установка экрана между стеной и настенной моделью. Размеры – 10 см запаса с трех сторон, 70 сверху.
Схема устройства котельной в частном доме.
Дымоход из оцинкованной трубы
Устройство дымохода
Конструкция типа «сэндвич» из труб по праву считается одним из самых эффективных и удачных вариантов дымоотводящих приспособлений.
На сегодняшний день производители предлагают огромный ассортимент таких дымоходов. Среди их преимуществ нужно, прежде всего, отметить устойчивость к агрессивным внешним воздействиям и различным механическим нагрузкам.
Непосредственно «сэндвич» имеет предельно простое строение. Он состоит из двух труб отличающегося диаметра, одна из которых вставлена в другую. Для заполнения зазора между такими трубами чаще всего применяется негорючая базальтовая вата.
Сэндвич труба для дымохода
Высота трубы

Важным с точки зрения противопожарной безопасности и обеспечения ровной тяги является вопрос определения высоты трубы.
Дымоход обязательно должен быть выше края крыши, иначе продукты горения будут «коптить» стены и фронтоны здания, продукты горения не будут эффективно размешиваться с воздухом.
Соотношение высоты и диаметра трубы влияет на тягу. Для большинства бытовых котлов для обеспечения тяги вполне достаточно длины 4-6 метров.
Чтобы котёл нормально функционировал, важно соблюдать соотношение высоты трубы к коньку
| Расстояние от конька до трубы. | Высота относительно конька. |
| До 1.5 метра. | Выше на 500 мм. |
| 1.5 – 3 метра. | В уровень с коньком. |
| Свыше 3 метров. | Ниже конька на 10°. |
Решать проблемы с тягой значительным увеличением высоты дымохода неэффективно — труба будет подвержена большим ветровым нагрузкам. При проблемах с тягой лучше увеличить диаметр и утеплить трубу.
Важно! Высоту дымохода необходимо повышать, если оголовок находится в зоне ветрового подпора. Если рядом стоит высокое здание или дерево с густой кроной, все, что находится «в тени» здания под углом 45°, возможно задувание и обратная тяга
В этом случае поднимают высоту трубы относительно здания, ориентируясь на данные из таблицы
Если рядом стоит высокое здание или дерево с густой кроной, все, что находится «в тени» здания под углом 45°, возможно задувание и обратная тяга. В этом случае поднимают высоту трубы относительно здания, ориентируясь на данные из таблицы.
Частые проблемы и ошибки при установке
Опытные мастера отмечают наиболее часто встречающиеся ошибки при установке:
- выбор материала, не соответствующего типу топлива, ведет к ускоренному прогоранию труб;
- недостаточно прочное крепление секций к стенам и перекрытиям вдет к провисанию и деформации канала, снижению тяги, ускоренному оседанию сажи и конденсата, вплоть до разрушения отдельных секций.
- ошибки в проекте: недостаточная высота зонтика относительно конька, сужения сечения канала, избыток уступов и горизонтальных участков приводит к обильному образованию конденсата, отложению сажи и снижению тяги вплоть до образования обратной тяги.;
При аккуратном и качественном выполнении расчетов и монтажа этих проблем удается избежать.
Виды вентиляции
В доме с газовой котельной обустраивают 2 вида вентиляции: естественную и принудительную.
Первый вариант наиболее распространен в частном секторе. Естественная вентиляция разрешена для котлов мощностью до 30 кВт.
В инженерной сети воздухообмен выполняется за счет разности температур и давления. Воздушные массы произвольно циркулируют между улицей и помещением через воздуховоды.

В принудительной вентиляции воздушные потоки перемещаются за счет механического принуждения работающими вентиляторами. Инженерная сеть актуальна для большой котельной с мощными котлами.
Ставят механическую вентиляцию для инновационного отопительного оборудования, где использование принудительного вентилирования рекомендовано производителем.

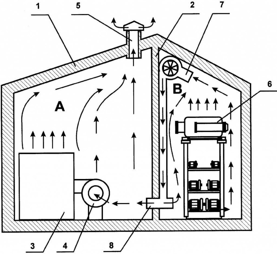
Схема принудительной системы, где вентилятор обозначен цифрой 7
Схема принудительной системы, где вентилятор обозначен цифрой 4
Установку дымохода можно рассмотреть на примере двухконтурной конструкции
Проводится установка дымоходов для газового котла по направлению конструкции снизу вверх, то есть от отопительных объектов помещения в сторону дымохода. При такой установке внутренняя труба надевается на предшествующую, а наружная труба вставляется на предыдущую.
Все трубы скрепляются друг с другом хомутами, а по всей линии прокладки, через каждые 1,5–2 метра, устанавливают кронштейны для закрепления трубы на стену или другой элемент строения. Хомут — это особый элемент крепления, с помощью которого не только соединяются детали между собой, но и происходит обеспечение герметичности стыков.
Проложенные участки конструкции в горизонтальном направлении до 1 метра не должны соприкасаться с элементами, которые проходят недалеко от коммуникаций. Рабочие каналы дымохода размещаются вдоль стен зданий.
Обязательно через каждые 2 метра дымохода устанавливают кронштейн на стену, а тройник прикрепляется с помощью опорного кронштейна. Если необходимо крепить канал на деревянную стену, то трубу обкладывают негорючим материалом, к примеру, асбестом.
При креплении на бетонную или кирпичную стену, применяют специальные фартуки. Затем через стену выводим конец горизонтальной трубы и там монтируем тройник, необходимый для вертикальной трубы. Устанавливать кронштейны на стену необходимо через 2,5 м.
Следующим шагом является крепление, подъем вертикальной трубы и ее вывод через крышу. Трубу обычно собирают на земле и подготавливают крепление для кронштейнов. Полностью собранная объемная труба тяжело устанавливается на колено.
Для упрощения используют шарнир, который изготавливается при сварке кусков листового железа или обрезки штыря. Обычно вертикальная труба всовывается в трубу тройника и скрепляется трубным хомутом. Крепление шарнира к колену происходит аналогично.
После поднятия трубы в вертикальном положении места соединения труб необходимо скрепить болтами, где это возможно. Затем следует открутить гайки болтов, на которые был скреплен шарнир. Затем срезаем либо выбиваем сами болты.
Выбрав шарнир, прикрепляем оставшиеся болты в соединении. После этого натягиваем оставшиеся кронштейны. Регулировку натяжения производим вначале вручную, затем закрепляем трос и регулируем винтами.
Необходимые расстояния, которые следует соблюдать при расположении дымохода снаружи
Завершается установка проверкой дымоходной тяги. Для этого подносят к камину или печи горящий листок бумаги. Тяга присутствует в случае отклонения пламени в сторону дымохода.
В приведенном рисунке отмечены расстояния, которые необходимо соблюдать в различных вариантах расположения дымохода снаружи:
- при установке на плоской крыше расстояние не должно быть меньше 500 мм;
- в случае удаления трубы от конька кровли на расстояние, которое меньше 1.5 метра, высота трубы должна составлять не меньше 500 мм по отношению к коньку;
- если установка выхода дымохода расположена на расстоянии более 3 метров от кровельного конька, то высота не должна быть больше предполагаемой прямой.
Установка зависит от типа направлений канала, необходимого для сгорания топлива. Во внутренней части помещения различают несколько типов направлений дымоходного канала:
Опорный кронштейн для дымохода
- направление с поворотом в 90 или 45 градусов;
- вертикальное направление;
- горизонтальное направление;
- направление с уклоном (под углом).
Устанавливать опорные кронштейны для закрепления тройников необходимо через каждые 2 метра дымового канала, необходимо предусмотреть дополнительное крепление на стену. Ни в коем случае при установке дымохода не следует создавать горизонтальные участки выше 1 метра.
При установке дымоходов учитывайте:
- расстояние от металлических и железобетонных балок до внутренней поверхности стенок дымохода, которое не должно превышать 130 мм;
- расстояние до многих легко воспламеняющихся конструкций — не меньше 380 мм;
- разделки для негорючих металлов делаются для прохождения дымовых каналов через перекрытия на крышу или через стену;
- расстояние от сгораемых конструкций до неизолированного металлического дымохода должно быть не меньше 1 метра.
Подключение дымохода газового котла выполняется на основе строительных норм и инструкции производителя. Дымоход требует очистки до четырех раз за год (см. Как прочистить дымоход).
Чтобы оптимально рассчитать высоту дымохода, необходимо учесть тип крыши и высоту здания:
- возвышение дымоходной трубы должно составлять не менее 1 метра при установке на плоской крыше и не меньше 0,5 метра над неплоской;
- расположение дымохода на крыше необходимо производить на расстоянии 1,5 метра от конька;
- высота идеального дымохода имеет высоту не меньше 5 метров.
Требования к дымоходам для газовых котлов
Проектирование, сборка, монтаж и другие мероприятия, направленные на устройство дымового канала, регламентируются нормативными документами, в которых чётко и ясно прописаны основные требования к этим конструкциям.
Для напольных и настенных газовых котлов чаще всего монтируют стальной дымоход
На основе этих документов к дымоотводящим конструкциям, которые будут использоваться совместно с отопительными котлами, предъявляются следующие требования:
- сечение дымовой трубы — не может быть меньше, чем выходной патрубок газового котла. Например, если патрубок имеет сечение Ø150 мм, то минимальный диаметр дымовой трубы также должен быть не менее 150 мм. На всей протяжённости дымохода труба не должна иметь зауженных участков и искривлений;
- расположение дымового канала — дымовая труба должна идти строго вверх. При необходимости возможен уклон в 30о. При этом длина отводов может быть не более 100 см, а их максимальное количество — не более 3. Если требуется поворот трубы, то радиус закругления должен быть больше или равен диаметру используемой трубы;
высота дымохода над коньком — не менее 0,5 м в случаях, когда труба располагается на расстоянии до 1,5 м от конька кровли. Если это расстояние составляет от 1,5 до 3 м, то допускается устройство трубы вровень с уровнем конька. В остальных случаях проводится условная линия от уровня конька под углом в 10о. Оголовок трубы должна «касаться» этой линии. Расстояние от свеса кровли до дымовой трубы — не менее 1,5 м;
- материалы — для изготовления дымохода используются только негорючие газонепроницаемые материалы. При наращивании конструкции верхняя часть трубы должна надеваться на нижнее звено. При этом место контакта необходимо обрабатывать негорючим герметиком;
- устройство — минимальное расстояние от дымовой трубы до объектов и поверхностей, выполненных из воспламеняющихся материалов, должно составлять не менее 25 см. В остальных случаях — не менее 5 см. При проходе дымохода через перекрытия и кровлю не должно быть прямого контакта дымовой трубы с этими конструкциями. Внизу дымохода обязательно монтируется модуль ревизии с капельником.
Приведённые выше требования являются общими и должны выполняться во всех случаях без исключения. Выполняя монтаж дымохода, следует помнить, что даже небольшие отклонения от значений, предъявляемых нормативными документами, могут вызвать снижение срока службы дымовой трубы, а в некоторых случаях привести и к более серьёзным последствиям.
Некоторые отличия дымоходов
Внутренний дымоход
- Может служить для дополнительного отопления тех помещений, через которые он проходит. Не стоит тратиться на утепление, изоляции подлежат только участки наружного выступа.
- Если в дымоходе от времени образуется коррозия, то существует опасность задымления внутреннего пространства дома. Риск попадания угарных газов и повышенная пожарная опасность.
- Монтаж внутреннего дымового канала осложнён большим количеством составных частей и приспособлений для осуществления выхода на перекрытие. Иногда требуется переделывать обрешётку. Ремонтные работы тоже сопряжены с определёнными трудностями.
Наружный дымоход
- Этот вид дымового канала полностью состоит из типовых сборных элементов. Воспользовавшись руководством по монтажу, хозяин может самостоятельно собрать и укрепить дымоход.
- Относительно безопасный уровень эксплуатации наружной трубы. Чистка и ремонтное обслуживание более простое и не требует затрат усилий.
Варианты исполнения
Внутреннее и наружное исполнение дымоходов сильно отличается. По этой причине их конструкция имеет принципиальные различия.
Наружная конструкция
В стене делают отверстие, через которое свободно проходит труба и ее изоляция. Каждый из элементов закрепляется поочередно.По всей длине дымоход крепится дополнительно посредством использования кронштейнов. Также необходимо утеплить трубы.
Утеплитель-минеральная вата
Внутреннее исполнение
В первую очередь необходимо выбрать правильное месторасположение установки дымохода и котла. После этого делают разметку на местах, где будет проходить труба. Далее формируют проемы и выполняют присоединение патрубка от котла к дымоходу.
Закрепляется лист железа, крепится кронштейн. Стыки фиксируют и обрабатывают герметиком. Их дополнительно проверяют после окончания работ.
Коаксиальная газоотводная труба
Как уже говорилось ранее, такие дымоотводы имеют две трубы. Через одну выходят отходы продукты горения, через другую – поступает воздух. Дополнительная вентиляция, если собирают такой аппарат, не требуется, поскольку трубы не зависимы друг от друга.
Этот тип дымоходов применяется исключительно для напольных или настенных котлов с закрытым типом камеры сгорания.
Что надо знать о вентиляции котельной?
Работающему котлу для поддержания процесса горения нужен кислород, и его приходится брать из воздуха. Необходимо также не дать угарному газу накапливаться в помещении котельной и проникать в дом. Притоку свежего воздуха в помещение котельной по отношению к оттоку положено быть троекратным.
В котельной надо сделать приточную и вытяжную вентиляцию. Для естественного вентилирования котельной в противоположной от котла стене прорубается канал диаметром 13-15 см при мощности котла до 35-40 кВт и 17 см при большей мощности. В него вставляется вентиляционная труба, укомплектованная заслонкой и сеточкой.
Естественную вентиляцию котельной легко сделать самостоятельно. Но она не позволяет контролировать приток и отток воздуха, качество вентиляции зависит от погодных условий
Если котельная размещена в обособленном помещении, то подачу воздуха снаружи можно обеспечить через жалюзийные решетки, устанавливаемые непосредственно во входной двери – в нижней ее части.
Норматив на размер приточных отверстий – не менее 8 см2 поперечной площади на 1 кВт мощности котла, если воздушная тяга происходит с улицы. Вентиляцию котельной связывают и с вентиляционной системой всего дома. Если воздух поступает изнутри, размер отверстия надо рассчитывать, исходя из другого норматива – 30 см2 на 1 кВт.
Альтернативой естественной вентиляции или дополнением к ней является принудительная вентиляция. Чтобы сократить потребление электроэнергии, ее подключают к котловому оборудованию – вентиляторы будут вращаться только при работающем котле. В газовой и дизельной котельных вентиляционную систему следует поместить в корпус во избежание воспламенения, взрыва.
Новшеством для тех, кого интересует специфика устройства котельной в частном доме, станут автоматизированные климат-системы. Они поддерживают заданные климатические параметры в помещении в автоматическом режиме и изменяют их при необходимости без участия человека.
Котельная в пристройке с вертикальным дымоходом из стали на естественной тяге. Более долговечной будет керамическая труба. Как вариант можно рассмотреть керамический дымоход в стальном корпусе. Он сохраняет преимущество по долговечности, но более прост в монтаже
Все отопительные котлы оснащены камерой сгорания открытого или закрытого типа. Для оборудования с закрытой камерой сгорания ограничений по объему помещений нет, наличие окна тоже не обязательно.
В первом случае дым отводится наружу посредством естественной тяги через вертикальную дымовую трубу. Часть воздуха из помещения уходит туда же, и поэтому приходится обеспечивать постоянное проветривание помещения.
Во втором случае продукты горения удаляются из камеры принудительно с помощью вентилятора через особый двойной дымоход – коаксиальный. В нем одна труба вложена в другую. По внутренней движется дым, по внешней в обратную сторону поступает необходимый для поддержания горения воздух.
Длина обычного вертикального дымохода – не менее 5 метров. Его конец должен выступать за пределы верхнего конька крыши, и не всегда технически возможно соорудить под него сквозную шахту
Дымоход по принципу «труба в трубе» более короткий и может быть направлен горизонтально. Для обоих типов дымоходов важно, чтобы площадь сечения дымовой трубы была не меньше площади сечения патрубка, к которому она подключается. И, наконец, несколько слов о конструкции горелок
Они бывают атмосферными и наддувными
Устройства первого типа используются только в газовых котлах. Газ в них подается за счет давления, образующегося в газовой магистрали или баллоне. Слышно, как горит пламя, иного шума нет
Они бывают атмосферными и наддувными. Устройства первого типа используются только в газовых котлах. Газ в них подается за счет давления, образующегося в газовой магистрали или баллоне. Слышно, как горит пламя, иного шума нет
И, наконец, несколько слов о конструкции горелок. Они бывают атмосферными и наддувными. Устройства первого типа используются только в газовых котлах. Газ в них подается за счет давления, образующегося в газовой магистрали или баллоне. Слышно, как горит пламя, иного шума нет.
В устройствах второго типа вентилятор смешивает газ с воздухом, чтобы горение было более ровным. С шумом вентилятора приходится мириться. Котлы с наддувными горелками работают и на газе, и на дизельном топливе, для них требуется дымоход меньшего сечения.
В коаксиальном дымоходе воздух с улицы, проходя по трубе, нагревается от внутреннего канала, по которому движутся продукты сгорания. Воздух попадает в топку подогретым, что уменьшает расход топлива и повышает КПД оборудования
Конструкции котлов и вывод дымовой трубы
Конструктивно газовый котёл представляет собой устройство, состоящее из газовой горелки, к которой через форсунки поступает газ, и теплообменника, который нагревается за счёт энергии, получаемой во время сгорания газа. Газовая горелка располагается в топочной камере. Движение тепла происходит при помощи циркулярного насоса.
Помимо этого, современные типы газовых котлов оснащаются различными модулями самодиагностики и автоматики, позволяющими использовать оборудование в автономном режиме
При выборе дымохода обращайте внимание на тип камеры сгорания котла. Именно от её конструкции будет зависеть способ забора воздуха, необходимого для сгорания газа, а вследствие этого и оптимальный тип дымохода. Для разных типов камеры сгорания подходят разные типы дымоходов
Для разных типов камеры сгорания подходят разные типы дымоходов
Камера сгорания у газовых котлов бывает двух типов:
- открытая — обеспечивает естественную тягу. Забор воздуха происходит из помещения, в котором установлено отопительное оборудование. Отвод продуктов горения осуществляется посредством естественной тяги при помощи дымовой трубы с выходом через кровлю;
- закрытая — обеспечивает принудительную тягу. Забор воздуха для горения топлива происходит с улицы. В редких случаях воздух может забираться из специального помещения, оборудованного приточной вентиляцией. Для одновременного отвода топочных газов и забора свежего воздуха используется дымоход коаксиального типа, который выводится наружу через ближайшую несущую стену.
Зная тип топочной камеры, можно без особого труда подобрать или изготовить подходящий по конструкции дымоход. В первом случае, когда котёл оборудован открытой камерой сгорания, используется обычный тонкостенный или утеплённый дымоход.
Для котлов с закрытой камерой сгорания используется коаксиальный дымоход, который представляет собой конструкцию, состоящую из труб разного диаметра. Труба с меньшим сечением закрепляется внутри трубы большего диаметра посредством специальных стоек. По внутреннему каналу происходит отвод углекислого газа и других продуктов горения, а через промежуток между внешней и внутренней трубой свежий воздух поступает в закрытую топочную камеру.
Способы устройства дымовых труб
По способу устройства дымовые трубы подразделяются на:
- внутренние — дымоходы, выполненные из металла, кирпича или керамики. Представляют собой как одностенную, так и утеплённую двухстенную конструкцию. Располагаются вертикально вверх. Возможно присутствие нескольких колен со смещением на 30о;
- наружные — коаксиальные или сэндвич-дымоходы. Располагаются также вертикально вверх, но дымовая труба выводится наружу через несущую стену горизонтально. После вывода трубы устанавливается поворотное колено на 90о и опорные кронштейны, позволяющие провести монтаж в нужном направлении.
Дымоход может выводиться на улицу через стену в непосредственной близости от котла или традиционным способом через крышу
При выборе способа устройства дымохода следует учитывать размеры здания, в котором находится оборудование. Для небольших построек целесообразней использовать внешние дымоходы, так как они позволяют вывести дымовую трубу за пределы помещения.
В остальных случаях следует отталкиваться от личных возможностей. Если позволяет пространство и есть возможность выполнить качественную изоляцию в местах прохода трубы через перекрытия, то внутренний дымоход будет лучшим решением. Особенно если конструкция будет обложена кирпичом или защищена керамическим коробом.
































